摘要
固态脉冲功率驱动源是实现高功率微波系统紧凑化与高重复频率运行的关键。本文综述了固态脉冲功率驱动源的国内外研究现状,重点调研评述了基于模块化叠加的三种主流技术路线:固态Marx脉冲发生器、固态直线变压器驱动源、固态层叠Blumlein线脉冲功率驱动源。从开关的角度切入,提出当前面临的技术问题主要集中于开关工作特性与频率提升的制约因素、能量损耗和热管理、驱动与控制三个方面。同时,探讨了高重复频率固态脉冲驱动源的未来发展趋势,可为高重复频率固态脉冲功率驱动源的研究和技术路线探索提供参考和依据。
关键词
Abstract
Solid-state pulsed power driver is essential for realizing compact and high-repetition-rate operation of high-power microwave systems. This paper reviewed the domestic and international research status of solid-state pulsed power driver, focusing on the investigation and review of three mainstream modular superimposed technology routes: solid-state Marx pulse generator, solid-state linear transformer driver, and solid-state stacked Blumlein line pulsed power driver. From the perspective of switches, the current technical challenges were mainly concentrated on three aspects: the constraining factors of switch operating characteristics and frequency enhancement, the energy loss and thermal management, as well as the driving and control. Meanwhile, the future development trend of high-repetition-rate solid-state pulsed power drivers was also discussed, providing a reference and basis for the research and exploration of technical routes related to such driver.
脉冲功率技术(pulsed power technology,PPT),是一种把低功率储存的高密度电磁场能量进行快速压缩后转换为脉冲高功率并释放给负载的电物理技术[1-6],作为前沿高技术,在核爆模拟、闪光照相、聚变点火、电磁发射、能源环保等国防和国民经济重大领域有重要应用,是脉冲激光[7]、高功率微波[8]、聚变能源[9]、电磁发射[10-11]等应用的基础。
高功率微波脉冲功率驱动源为高功率微波系统提供高压、高功率的电脉冲能量,是产生高功率微波的驱动器。作为高功率微波系统的关键组成,其输出功率水平、脉冲宽度、重复频率、紧凑化程度以及长期稳定运行能力,在很大程度上决定了微波系统的整体性能与工程应用潜力。典型高功率微波源通常要求脉冲功率驱动源在GW级功率、百ns量级脉宽、10~1 000 Hz重复频率以及百万至千万次脉冲寿命等条件下实现可靠运行,这对开关器件性能、模块化叠加方式及系统热管理与可靠性设计提出了更为严格的要求。高功率微波技术的快速发展由此对脉冲功率技术形成了显著牵引作用,推动脉冲功率驱动源朝着固态化、模块化及稳定长寿命方向不断演进[19-24]。
典型高功率微波脉冲功率驱动源的组成框图如图1所示。首先通过初级能源和能量储存部分产生μs量级的脉冲,再利用脉冲成形和开关技术,放大输出脉冲峰值功率,最后输出到负载。脉冲功率技术的本质是将以较低功率存储的能量进行时间以及空间上的压缩,实现高功率输出,而开关是该过程的核心部件,它首先起到隔离作用,将低压充电部分以及高压输出部分进行隔离;其次起到压缩、变换波形以及陡化作用,当储能元件充好电后,开关动作,使得存储在储能元件上的能量以μs甚至ns的时间释放出来,最终向负载传输高功率[25-26]。
图1脉冲功率系统典型组成框图
Fig.1Typical composition block diagram of pulsed power system
高功率微波脉冲功率驱动源的主要发展思路是SWaP(size,weight,and power),即“一减三增”,具体而言是减体积质量,增重频、脉宽、寿命。高功率微波脉冲功率驱动源主要有三条技术路线:液体形成线型、Marx发生器型、固态脉冲功率。液体形成线型基于脉冲变压器+液体脉冲形成线(pulse forming line,PFL);Marx发生器型基于Marx发生器+PFL或脉冲形成网络(pulse forming network,PFN);固态脉冲功率主要基于线性感应叠加+固态功率半导体器件的PFL或PFN。高功率微波脉冲功率驱动源三条主要技术路线采用的开关以及特色分析见表1。液体形成线型技术路线的特点是,输出波形质量好、结构简单、可重复运行;Marx发生器型技术路线的特点是,升压、储能、脉冲形成一体,具紧凑化基因;固态脉冲功率技术路线的特点是,采用电力电子功率半导体开关代替气体开关,智能控制性强、重频高、寿命长。
表1高功率微波脉冲功率驱动源三条主要技术路线
Tab.1Three main technical routines for high-power microwave pulsed power drivers
注:LTD为直线变压器驱动源(linear transformer driver)。
通常,对于大多数高功率微波脉冲功率驱动源来说,开关的性能往往决定了其输出功率水平、输出波形水平、重复频率、稳定性以及寿命[27-29]。相比于气体开关,固态开关避免了电极烧蚀等问题[30],可以大幅提升重复频率和使用寿命[31-32];相比于液体储能型脉冲形成单元,固态化脉冲形成单元具有更好的可维护性和环境适应性[33]。
近年来,随着电力电子技术的高速发展,半导体开关技术层面取得了大的突破,表2展示了目前常规半导体器件的性能特点。常规半导体开关器件主要有可控硅或晶闸管(silicon controlled rectifier,SCR)、门极可关断晶闸管(gate-turn-off thyristor,GTO)、绝缘栅双极型晶体管(insulated gate bipolar transistor,IGBT)、金属-氧化物半导体场效应晶体管(metal-oxide-semiconductor field-effect transistor,MOSFET)。
半导体开关凭借高开关速度、高功率密度、高可靠性、易于控制等优点[34-35],在脉冲功率领域具有非常好的应用前景。半导体开关的使用极大提高了脉冲功率系统的模块化以及重复频率,其代替气体火花间隙开关等传统开关已经成为脉冲功率技术的重要发展趋势。
本文将紧贴固态脉冲功率驱动源的发展趋势,对国内外的固态脉冲功率驱动源的研究进展进行系统介绍,评述其参数和结构特点。通过对比、讨论,总结其发展趋势,为固态脉冲功率驱动源的研究和技术路线探索提供参考和依据。
表2常规半导体开关性能特性对比
Tab.2Comparison of performance characteristics of conventional semiconductor switches
1 固态脉冲功率驱动源技术路线
近年来,在国防科技领域的牵引下,脉冲功率系统不断向紧凑化、高重频、长寿命等方向快速发展。固态脉冲功率系统通过开关的固态化和脉冲形成的固态化,能够有效提高系统的稳定可靠性和长寿一致性,展现出巨大的应用潜力,是脉冲功率领域的研究热点之一。
按照叠加方式分类,固态脉冲功率驱动源可以大致分为三种,如表3所示。一是固态Marx脉冲发生器,基于传统Marx脉冲发生器“并联充电,串联放电”的设计理念,使用固态开关代替传统气体开关来作为主放电开关,得到了广泛关注;二是固态LTD,采用多级固态脉冲产生模块,通过变比为1 ∶1的变压器串联输出,有效避免了电位随级数增加的问题;三是固态层叠Blumlein线脉冲功率驱动源,通过多级固态Blumlein线脉冲产生模块堆叠实现电压倍增,具有较好的模块化基因。
表3不同叠加方式的优缺点
Tab.3Advantages and disadvantages of different stacking configurations
2 固态脉冲功率驱动源国内外研究现状
为了方便对比研究,在论述固态脉冲功率驱动源研究现状时,按照其叠加方式来划分类别。近年来,国内外在这三类固态脉冲功率驱动源研究上均取得了一定的研究成果。
2.1 固态Marx脉冲发生器
固态Marx脉冲发生器在继承“并联充电,串联放电”经典结构理念的基础上,通过采用全控型固态开关阵列,实现了高重复频率、高脉冲一致性和优良的电气可控性。近年来,围绕高压均压控制、同步触发、能量回馈及系统紧凑化等关键问题,国内外相继研制出多种具有代表性的固态Marx脉冲发生器,如表4所示。典型输出电压幅值为15~500 kV,脉宽为0.2~10 μs,重复频率为50~500 Hz。
表4典型固态Marx脉冲发生器
Tab.4Typical solid-state Marx pulse generator
2003年,美国DTI(Diversified Technologies,Inc.)为下一代直线对撞机(next generation linear collider,NLC)设计了基于全控型半导体开关器件——IGBT的新型高性能固态Marx脉冲发生器,经五级叠加模块测试验证,输出电压为24 kV,电流为210 A,脉宽约为1.25 μs。在后续研究中,提出了输出电压500 kV、输出电流265 A的固态驱动源设计[36]。该Marx架构避免了使用传统脉冲变压器升压带来的显著能量损耗(磁芯损耗、上升时间损耗等),同时也解决了传统Marx效率低、重复频率低等问题,效率显著提高15%~20%。此外,该方案采用相同低压模块串联,同时也优化了电容尺寸和电流路径,从而显著减小了系统体积,极大简化了设计、测试和生产,在小体积、可测试性、可制造性、可维护性和成本效益方面具有巨大优势。
2012年,中国工程物理研究院采用8个3 300 V、1 200 A的IGBT开关串联组成开关模块,设计工作电压为20 kV、工作电流为1 kA。该开关模块与储能及脉冲形成模块两部分共同组成20 kV的脉冲功率模块,重复频率达到50 Hz,输出脉宽可在3~10 μs范围内任意调节。在此基础上,研究所研制出了一套由28个模块化脉冲功率组件构成的输出脉冲电压达500 kV、输出脉冲电流达1 kA的全固态Marx发生器[37]。在该全固态Marx发生器的设计中,为了降低组件之间的电位差,采用了Z型线路结构;并且结合均压电路、放电管保护开关及脉冲抑制电路的应用,解决了过电压敏感器件多级串联应用时的动态均压问题。该500 kV全固态Marx发生器的研制成功为实现高重复频率、高平均功率的脉冲输出探索了一条可行的技术途径。
2012年,复旦大学电光源研究所设计了一种基于全固态MOSFET半导体开关器件的Marx脉冲发生器。该Marx发生器仅需900 V低压充电,通过180个串联单元,可以获得最高幅值为150 kV、脉宽1~5 μs可调的高压快脉冲,前沿小于500 ns[38]。该Marx发生器采用顺/逆时针方向环形分布的紧凑型拓扑结构,在继承固态Marx发生器紧凑优点的同时,也实现了回路电感的减小。
2023年,英国哈德斯菲尔德大学的Dehghan等基于SiC MOSFET设计并实现了一种高速高电压全固态Marx脉冲发生器[39]。该装置采用三级模块化Marx结构,在实验条件下实现了15 kV的脉冲电压输出,峰值输出电流约40 A,脉冲宽度为200 ns,重复频率达到500 Hz。三级结构和两级结构下的输出波形分别如图2中的曲线a、曲线b所示。该研究利用SiC MOSFET寄生电容低、开通速度快等特性,通过器件串联实现电压叠加,避免了传统气体开关在寿命和触发一致性方面的局限。同时,模块化结构设计在一定程度上改善了脉冲上升沿特性和多次重复运行下的波形稳定性,为全固态Marx发生器在高电压、短脉冲、高重频条件下的实现提供了可参考的工程方案。
2025年,上海理工大学基于全固态Marx电路和变压器设计了一种全固态Marx发生器,可以输出电压为45 kV的准方波脉冲,脉宽为1 μs,重复频率达到300 Hz[40],如图3所示(图中表示充电电压)。该方案通过将Marx电路与脉冲变压器结合,以28级实现了45 kV输出,在减少级数的同时降低了绝缘要求,避免了传统Marx发生器在几十kV高压下需多级串联而导致结构复杂、绝缘难度高、可靠性下降的问题;并在Marx主电路中设计续流电路,以避免变压器磁芯饱和,从而实现重复频率运行。
总体来看,固态Marx脉冲发生器已实现从最初的低频、低电压运行特征到目前的高电压、大电流以及高重复频率运行特征的转变。其技术发展可大致分为三个方向:在器件层面,开关器件正由传统硅基向SiC、GaN等宽禁带半导体过渡,从而达到更高频率和更高效率;在结构层面,系统架构逐步向模块化、智能化演进,从而提升均压均流能力与运行可靠性;在系统层面,则更加关注高重复频率条件下的热管理、电磁兼容以及能量回馈等关键问题。
2.2 固态LTD
相较于传统Marx脉冲发生器,LTD采用多级固态脉冲产生模块通过变比为1 ∶1的变压器串联输出,从而有效避免了电位随级数增加的问题。随着功率半导体开关技术的持续发展,LTD装置在输出能力、重复频率以及功率等级等关键性能指标上均获得了显著提升。近年来,围绕不同应用需求,国内外学者开展了大量研究工作,研制并验证了一系列具有代表性的全固态LTD脉冲装置。以下选取了几种典型装置,如表5所示。典型输出电压为2~500 kV,脉宽为50~250 ns,电压效率为70%~97%。
表5典型固态LTD
Tab.5Typical solid-state LTD
2015年,日本长冈技术科学大学江伟华教授同样基于MOSFET设计了一台高重频LTD,该LTD系统由30个模块构成,每个模块采用24个MOSFET。实验结果表明,充电电压为1 kV时,120 Ω负载上的输出电压可达29 kV,峰值功率为7 MW,电压叠加效率高达96.7%,脉冲宽度在50~170 ns范围内任意可调。不同充电电压下获得的负载电压波形如图4所示[41]。值得一提的是,该LTD可以通过错开不同模块开关的工作时间,任意改变输出脉冲的脉宽和波形。
2016年,西北核技术研究院基于额定电压1 200 V的快开通功率MOSFET,设计了一种高重频、快前沿、高压脉冲源,由4级LTD模块串联而成,实现了输出脉冲最高幅值约2.3 kV、重频达到2 MHz、上升沿约7 ns、脉宽约90 ns、输出电压效率约95%,单脉冲输出波形如图5所示[42]。该脉冲源输出脉冲稳定,且达到了紧凑化和模块化的设计要求。
高功率固态LTD同样得到了广泛研究和报道。2017年,美国德州理工大学基于超级GTO器件研制了一款全固态LTD,并进行单级实验验证,输出峰值电压大于4 kV,上升时间110 ns,脉宽186~244 ns。不同负载下单级LTD电压输出波形如图6所示。通过仿真研究,40级LTD可以实现峰值电压160 kV、电流8.65 kA、功率1.38 GW、电压效率69.6%。LTD抖动低至51 ps,重复频率达到1 kHz。结合纳米晶磁芯复位技术与低寄生参数设计,实现了可媲美Marx的电气性能,同时提供超低抖动、高重频及免维护优势,填补了传统Marx发生器与低功率固态LTD之间的技术空白[43]。
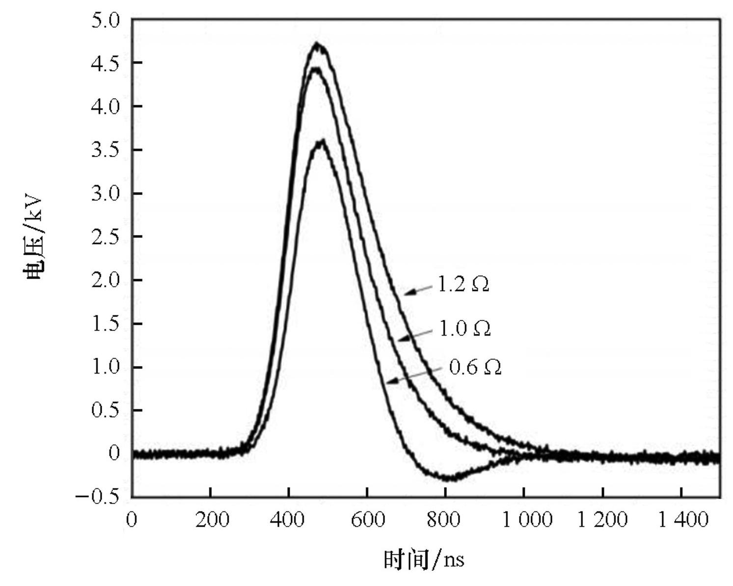
2020年,西南交通大学研制了一款5级全固态LTD,每级由8个紧凑型脉冲形成模块和1个磁芯组成,每个模块由6×6的IGBT开关模块和两级Blumlein线级联而成,单级充电5 kV,负载阻抗2 Ω,输出电流为4.6 kA,电压约为9.7 kV,电流前沿约为18 ns,脉冲宽度为129 ns,电压效率为94%,能量效率为86%。单级测试的电压和电流波形如图7所示[44]。2021年,在此基础上,进一步构建了一个50级输出500 kV的LTD装置,用于驱动高功率微波装置[45]。充电电压为5.7 kV时,负载上电压电流波形如图8所示,输出电流约为5.4 kA,电压约为470 kV,电压效率为94%,脉冲宽度为125 ns,输出功率为2.5 GW,重复频率为50 Hz。该LTD装置整体形状为圆柱形,长度为2.1 m,直径为0.77 m。单个模块的高度为4 cm,重约21 kg。加上充电电源、磁芯复位电源及其他配件,LTD总质量约为2.2 t。
2025年,美国德州理工大学Kelp等基于SiC MOSFET设计并研制了一种10级全固态线性变压器驱动源[46]。该装置可在24 kV输出电压下产生峰值电流约1 kA的脉冲,电压上升沿约为10 ns,电压输出波形如图9所示。研究中围绕纳米晶磁芯材料、结构尺寸及同轴传输线参数等关键因素,对能量损耗、波形质量及系统效率进行了系统优化。通过采用低寄生参数布局与脉冲复位技术,有效抑制了磁芯饱和并改善了重复运行能力。实验结果表明,在脉冲串运行条件下,该LTD在磁芯未饱和条件下可支持略低于2 kHz的重复脉冲运行,同时保持良好的脉冲前沿陡度与波形一致性,体现了固态LTD在高陡度前沿、高可靠性及高重复频率方向上的综合优势。
总体而言,固态LTD已由早期以原理验证和中低参数运行为主的实验系统,逐步演进为在功率、效率及重复运行能力等方面持续提升的工程化装置。未来,其技术演进可大致分为以下几个方向:首先,随着SiC、GaN等宽禁带半导体器件的引入,开关的耐压能力、电压上升率和电流上升率有望进一步提高,从而提升系统整体性能;其次,通过对磁芯材料及其复位方式的优化,可相应地降低磁损耗,改善能量传递;此外,借助数字化驱动和同步控制技术,实现系统智能化与模块间协同运行,将有效改善输出抖动问题并提升长期运行的稳定性与可靠性。
2.3 固态层叠Blumlein线脉冲功率驱动源
与Marx型和LTD型脉冲源相比,层叠Blumlein线具有内在阻抗匹配优、输出波形平坦、上升沿陡峭等特征。近年来,随着固态光导开关、宽禁带半导体开关器件及高阻抗传输线技术的发展,国内外在固态Blumlein线方向取得了一系列突破性进展,推动了其由实验验证向高功率工程应用转化。以下将选取若干典型装置进行介绍,如表6所示。
表6典型固态层叠Blumlein线脉冲功率驱动源
Tab.6Typical solid-state stacked Blumlein line pulsed power driver
2014年,中国工程物理研究院报道了一款3级固态层叠Blumlein线脉冲发生器[47],单模块由固态陶瓷传输线和砷化镓光导开关构成,3级层叠B线输出49 kV、脉宽约10 ns的脉冲高压,实现了脉冲功率发生器的固态集成化、紧凑小型化。
2015年,在上述研究基础上,研究人员进一步将该技术路线扩展至15级固态层叠Blumlein 线结构,研制了一种紧凑型固态纳秒高压脉冲功率驱动源,实现了输出电压幅值约300 kV、脉宽约10 ns、上升沿约3 ns的脉冲输出[48]。
2024年,国防科技大学杨双等为提高电压效率研制了一种基于标准同轴电缆的高阻抗层叠Blumlein线固态脉冲发生器。采用内筒放电型结构减少了耦合传输线的数量,提高电压叠加效率;采取螺旋盘绕方式绕制及磁芯隔离的方法增大耦合阻抗。研制了10级层叠Blumlein线脉冲发生器,实验结果表明:充电电压为489 V时,输出脉冲电压幅值为4.56 kV,脉冲前沿约为21 ns,脉宽约为75 ns,输出电压效率为93.3%,有效检验了脉冲叠加效率提高方法的可行性。10级层叠Blumlein线脉冲发生器输出电压波形如图10所示[49]。
2024年,西南交通大学设计了一款90级Blumlein线层叠脉冲发生器,其在充电电压分别为3 kV、4 kV和5 kV条件下的输出电流波形如图11所示[50]。充电电压为5 kV时,输出脉冲电压432 kV,电流720 A,脉宽144 ns,前沿39 ns,输出功率311 MW,系统电压效率88.73%,能量密度0.358 J/kg,整个装置质量约125 kg。在该层叠Blumlein线脉冲发生器的设计中,涉及脉冲电源模块和隔离模块,其中,脉冲电源模块由两级脉冲形成网络和6×6 IGBT开关阵列组成,可输出10 kV高压脉冲,开关阵列寿命可以达到109次脉冲;隔离模块配有共模电感和光学组件,用于充放电隔离和开关同步触发。与LTD相比,在使用相同的脉冲电源模块情况下,该脉冲发生器显著提高了能量密度,并且具有更高的紧凑性。
总体而言,固态层叠Blumlein线脉冲功率驱动源已实现从早期的低电压、小规模运行特征到高功率、高效率运行特征的转变。未来,其技术发展可大致分为以下几个方向:①宽禁带功率半导体器件的应用有望进一步提升系统的耐压水平等性能参数;②通过优化传输线实现高特性阻抗与低损耗,将成为提高能量利用效率的关键;③随着模块化技术的成熟以及智能化操控的引入,系统的可扩展性、稳定性和运行一致性将得到显著的改善。
3 固态脉冲功率驱动源的关键问题与发展趋势
上述总结的固态脉冲功率驱动源涵盖国内外近年来的研究进展,整体上看,目前固态脉冲功率驱动源的技术路线主要基于多级固态脉冲产生模块,通过Marx、LTD、层叠Blumlein线等叠加技术实现高功率脉冲输出。
本节从高功率微波系统出发,分析其对固态脉冲功率驱动源的特殊需求及模块化叠加技术的适应性。针对高重复频率固态脉冲功率驱动源,从开关的角度切入,以功率半导体开关为主要对象,分析所面临的主要技术问题和工程问题,并结合当前的技术发展动态,探讨固态脉冲功率驱动源的未来发展趋势。
3.1 高功率微波驱动源需求与技术适应性
高功率微波源通常依赖强流电子束在慢波结构中的能量转换过程,其运行特性决定了前端脉冲功率驱动源需要满足一系列区别于常规脉冲功率系统的技术要求。一般而言,为保证电子束的有效产生与加速,驱动源需提供百kV至MV量级的高电压脉冲;与此同时,为实现较高的峰值微波功率和能量转换效率,脉冲电压还应具备ns量级的快速上升沿特性。此外,在实际应用中,高重复频率工作能力以及良好的时间同步性,对提高系统平均功率水平和脉冲稳定性同样起着关键作用。
在上述背景下,模块化叠加型固态脉冲功率驱动源表现出较为突出的技术优势。通过将多个低电压等级的固态开关单元进行电压叠加,可以在有效降低单个器件电应力的同时获得所需的高电压输出,从而有助于提升系统整体的可靠性与可维护性。同时,模块化结构在系统层面上更易实现多通道的同步触发控制,有利于抑制脉冲抖动并改善输出脉冲的一致性,这一点对于高功率微波驱动尤为重要。
从不同技术实现路径的适应性角度来看,固态Marx发生器具有结构相对简单、电压提升能力强等优点,但在级数较多时,对触发同步精度和均压措施提出了更高要求;固态LTD依托多单元磁隔离与同步叠加方式,在时间同步性和抖动控制方面表现较好,相关方案已在多种高功率微波驱动实验中得到应用验证;相比之下,固态层叠Blumlein线结构在输出脉冲幅值和脉宽一致性方面具有一定优势,更适用于对微波脉冲稳定性要求较高的应用场景。
目前,模块化叠加型固态脉冲功率驱动源在高功率微波领域展现出良好的应用潜力,但在高重复频率运行条件下的热管理、电磁兼容、模块参数一致性、可靠性等方面还面临一定挑战,相关关键问题仍有待进一步深入研究。
3.2 主要技术问题
开关是脉冲功率系统实现能量压缩的核心部件,其工作特性直接影响脉冲功率驱动源输出能力。目前,高重复频率固态脉冲功率驱动源的发展主要受制于开关技术这一瓶颈,尤其是对固态开关(如前文所提功率半导体开关)的高度依赖,而不同种类的开关都各有其局限性,从而对系统的一些工作参数产生限制,如输出电压、输出电流、脉冲宽度、上升沿等。因此,在不同脉冲功率驱动源设计中想要输出不同的工作参数,开关的正确选择和使用是关键。
以功率半导体开关为切入角度,所面临的主要技术问题和工程问题包括以下几点:
1)开关工作特性与频率提升的制约因素。在高重复频率条件下,功率半导体开关需要在极短时间内反复导通与关断,其动态特性直接决定脉冲输出的幅值、上升沿以及系统效率。工作频率的提高会导致开关的导通损耗、关断损耗以及器件内部寄生参数引起的损耗显著增加,导致开关结温迅速上升、热应力加剧,成为限制系统性能提升的主要因素之一。针对这一问题,需要通过电-热-力多物理场耦合仿真、电-热耦合实验等方法去开展器件芯片层级与封装层级的失效机理研究,并结合智能算法开展器件异常状态监测研究,引入融合技术的方法以实现单个器件的寿命预测。此外,开关处于高频切换工作状态下,其电压上升率与电流上升率处于较高水平,容易引发电压应力集中等问题,进而影响系统的可靠性。
2)能量损耗和热管理问题。在高重复频率工作条件下,系统能量损耗不仅受功率开关本身影响,也包含了功率回路以及驱动电路中的附加损耗,从而使得散热与热管理成为保障系统稳定运行的关键技术问题。针对这一问题,一方面,可通过降低开关瞬态损耗、优化驱动波形并引入软开关工作方式,减少能量在切换过程中的损耗;另一方面,构建具备高效散热能力的封装体系,结合高导热封装材料和微通道冷却等技术手段,抑制结温升高及其空间梯度,从而提升系统的热稳定性和可靠性。
3)驱动与控制的挑战。高重复频率的固态脉冲功率驱动源的可靠运行也离不开高性能的驱动和控制系统。驱动电路在提供更高瞬态电流、更快切换速度的同时,也要在信号完整性、时序匹配等方面满足严格的要求。尤其是在多开关串并联的模块中,同步控制与均压均流成为重点,开关模块触发间的微小差异、芯片间电压电流的分配不均,都可能导致整个模块产生过应力而被损坏。因此,高性能的驱动与控制系统也是高重频固态脉冲功率驱动源的一大核心技术问题。
4)芯片—单管—模块—系统的逐步渐进。从芯片、单管到模块直至系统层级的逐级研究过程,不仅涉及不同尺度间物理机理的耦合,还要求在材料、电学、热学以及结构设计等多个维度实现协同优化。在芯片层面,需重点关注元胞内载流子输运行为、寄生参数抑制以及结温分布等基础问题,以支撑更快的开关速度和更高的耐压;在单管层面,通过优化封装结构,降低寄生参数引起的电应力,同时兼顾散热效率与电气绝缘性能;在模块层面,则需实现多芯片之间的均压均流与热均衡;而在系统层级,开关驱动设计、电路拓扑设计以及电磁干扰抑制的整体协同优化,成为决定脉冲输出幅值、上升沿和稳定性的关键因素。由此可见,这种“从芯片到系统”的多层级渐进研究并非对单一器件性能的简单叠加,而是一项跨尺度、多物理场耦合的系统工程,其复杂性在很大程度上制约着高重复频率固态脉冲功率驱动源的性能上限与长期可靠性。
3.3 未来发展趋势
从当前的研究进展与技术演化来看,高重复频率固态脉冲功率驱动源的未来发展将主要体现在以下几个方面:
1)高性能功率器件与新型半导体材料应用。未来,固态脉冲功率驱动源的发展将依赖于宽禁带及超宽禁带半导体技术的进步。SiC和GaN功率半导体器件在开关速度、耐压水平、热导性能以及抗辐射能力等方面表现出的综合优势,使其能够在数十kHz乃至MHz级重复频率条件下实现稳定运行。与此同时,β-Ga2O3等新兴超宽禁带材料凭借更高的临界电场强度,在高耐压器件方向展现出重要的研究价值。然而,其较低的热导性能可能对高功率密度和高重复频率应用形成制约,其在极端工况下的实际适用性仍有待通过器件结构优化、先进散热技术以及系统级实验验证进一步评估。
2)模块化与集成化设计。在脉冲功率驱动源的设计中,常用到模块化的设计理念,即将驱动源分成若干部分,然后将输出进行合成叠加或者合成,这样可以缓解核心器件的压力,获得更高的输出。因此,模块化也是高重复频率固态脉冲功率驱动源未来继续发展的重要途径。从技术角度看,解决开关的瓶颈问题也离不开模块化与集成化,基于3D封装和多芯片协同布局的模块设计有助于实现更紧凑的体积与更高效的热管理。
3)智能化与系统协同优化。随着固态脉冲功率系统结构日益复杂、工作频率持续提升,单纯依赖器件性能的提升已难以同时满足系统高稳定性和长寿命运行的要求。未来,固态脉冲功率驱动源的发展将更加重视系统层级的智能化与协同优化,以实现高性能与高可靠性的统一。一方面,可引入基于数据驱动的方法,对器件老化、焊层疲劳以及结温波动等关键状态参数进行在线监测和综合分析,从而实现剩余寿命评估和基于状态的维护;另一方面,通过系统级协同控制与优化调度,实现多模块之间的实时均衡与高效协同,确保触发一致性与均压均流,从系统层面提升整体运行的稳定性与可靠性。
4 总结
本文系统梳理了近年来国内外固态脉冲功率驱动源的研究进展与技术现状,围绕固态Marx脉冲发生器、固态直线变压器驱动源以及固态层叠Blumlein线脉冲功率驱动源三种典型技术路线,对其结构特点、工作机理及性能优势进行了对比分析与总结。
从器件到系统层面综合来看,开关器件的性能仍是制约驱动源性能进一步提升的关键因素。在高重复频率工况下,开关器件需同时承受较高的电压上升率和电流上升率,其动态导通与关断行为直接影响脉冲输出的上升沿、能量传输效率以及系统运行的可靠性。同时,随工作频率提升而显著加剧的能量损耗与热管理问题,已成为系统长期稳定运行的重要瓶颈,而驱动设计与同步控制复杂度的增加,也对系统级协同设计提出了更高要求。
未来,固态脉冲功率驱动源的发展趋势可从三个方面加以概括:一是以宽禁带及新型半导体材料为代表的高性能功率器件应用,不断拓展器件的电压、电流与频率边界;二是通过模块化、集成化与紧凑化设计,提高系统功率密度与工程可扩展性;三是引入智能化控制与系统级协同优化方法,实现多模块协调运行与长期可靠性。
综上所述,固态脉冲功率驱动源正由以器件性能提升为主导的发展阶段,逐步迈向以系统综合优化为核心的演进阶段。未来技术突破将不再局限于单一开关或单一电路拓扑的性能提升,而是依托材料、器件、电路与控制等多层次的协同设计与优化,推动高功率密度、高重复频率及长寿命固态脉冲功率系统的持续发展。




